您現在的位置是:主頁 > 資訊 >
耐高溫鎢錸熱電偶
編輯:熱電偶廠家日期:2019-12-29 00:00所屬欄目:資訊 人已圍觀站內編號:2139
簡介:安徽天康集團于2003年開始生產鎢錸熱電偶,鎢錸熱電偶為高溫熱電偶,內部為鎢錸合金線,具有溫度與電位的線性關系好、熱穩定性可靠、價格便宜等優點。 與顯示器配套,可直接測...(熱電偶型號報價廠家為您整理)
安徽集團于2003年開始生產鎢錸熱電偶,鎢錸熱電偶為高溫熱電偶,內部為鎢錸合金線,具有溫度與電位的線性關系好、熱穩定性可靠、價格便宜等優點。 與顯示器配套,可直接測量液體、蒸汽、氣體介質等的溫度。 鉑銠熱電偶的一部分可以作為高新技術工業、高溫電子熱電系統的結構工程和空間輸送手段、核反應堆的超高溫測量手段。
特點:價格低廉,熱穩定性高,測溫高
鎢錸熱電偶的主要技術參數:鎢錸熱電偶的規格形式是WRe3-WRe25/WRe5-WRe26使用溫度(℃)允許范圍1300~17000.5%t0~2300%t
□主要技術指標
型號
刻度
ASTM索引號
容許值
測量范圍(℃)
適用氣氛
WR□W-134□
WRe3-WRe25 (W3 )
d.d
±; 1.0%t
0~1700
氧化、還原或兩者交替
WR□W-13525
WRe5-WRe26 (W5 )
c.c
WR□W-13530
□品種規格
型號
保護管
結構
直徑( mm )
材料
WR
W3
W-134□
單層管
8~16
剛玉
W5
WR
W3
W-13525戰斗機
雙復合管實體化結構
16 (內) ×; 25 (外)
剛玉
W5
WR
W3
W-13525戰斗機
12 (內) ×; 25 (外)
剛玉(內) +SiC (外)
W5
WR
W3
W-13530戰斗機
16 (內) ×; 30 (外)
剛玉(內) +SiC (外)
W5
WR
W3
W-13530戰斗機
16 (內) ×; 30 (外)
剛玉(內) +金屬陶瓷(外)
W5
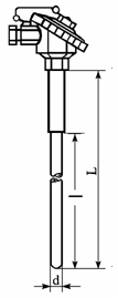
●保護管徑和長度規格表( mm )
phi; 16 (單層管)
phi; 20
全長l
設置深度l
全長l
設置深度l
300
150
400
250
350
200
450
300
400
250
550
400
450
300
650
500
550
400
900
750
650
500
1150
1000
900
750
1650
1500
1150
1000
2150
2000
注:金屬陶瓷管lzui的長度為500。


相關文章
咨詢熱線:15222906608
咨詢QQ :690147242
郵箱:690147242@qq.com
報價 技術 選型 方案設計 安裝指導
點擊排行
低溫脆化試驗機熱電偶與溫度傳感器介紹
